近期,世界局势剑拔弩张,欧洲战场和亚太地区都呈现出临界点状态。其实,世界局势走到今天几乎不可挽回的地步,最主要的因素就是新冠疫情。
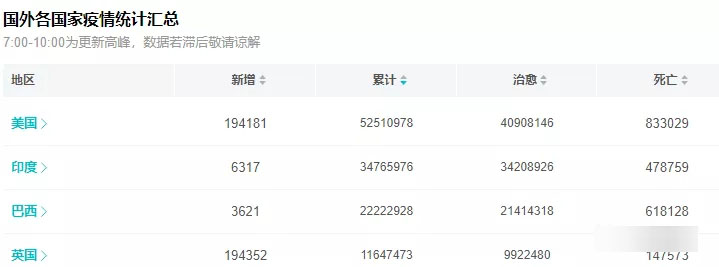
2021年新冠肺炎疫情夺走了至少330万人的生命,如今每周依然有5万人直接死于新冠肺炎。

不管什么起因和过程,目前全球公认的消灭新冠疫情最简单的办法就是学习中国的隔离、阻断、治疗总体解决方案。如果全世界人员都能做到半个月内保持静止,同时展开全面检测,对已经感染的人群展开隔离治疗,那么新冠病毒有很大的可能失去传播路径而自然消失。
12月20日,世界卫生组织总干事谭德塞呼吁“2022年必须成为世界终止新冠肺炎疫情大流行的一年。”

谭德塞认为:“疫情有可能终止,但我们须用上一切可用的工具,包括接种疫苗、戴口罩和保持社交距离。最重要的是,全世界必须解决疫苗分配不平等问题。我们要想在来年终止疫情,就必须终止这种不平等”。
显然,要解决新冠病毒,需要各国民众严格自律。其实,汉唐的体会就是戴口罩和保持社交距离,是大都市人群防止感染最重要的手段。但是,欧美民众自由主义上脑,大批人群反口罩反疫苗反隔离,这种反智状态决定了看似简单的措施不可能被贯彻执行。
所以,欧美民众的恶习使谭德塞的美好期待注定落空。除非自然界出现奇迹,病毒实现自然消亡,否则新冠疫情在2022年被人类消灭的可能性极低。
如果2022年新冠疫情继续持续甚至蔓延,美国依然每天感染过万甚至十万二十万人,死亡上千人,那么帝国主义挑起战争转移矛盾的风险将与日俱增,比起2021年要高一个数量级。

第二次世界大战欧洲战场爆发的直接原因是1929年持续到1933年的经济危机。亚洲战场的爆发的主要原因是日本军国主义在亚洲肆意扩张,没有制衡力量遏制日本侵略中国的野心。
2008年爆发并延续至今的全球经济危机从未真正化解,2018年美国发动的中美贸易战加剧了全球危机,2019年底爆发的新冠疫情使全球经济雪上加霜。危机,危机,危机,一浪一浪层层叠叠,必将冲垮和平的防线。
目前,美国国内多个领域呈现出纳粹化的状态,美军同步堕落,令人发指。
12月17日晚,福克斯新闻嘉宾杰西·凯利在讨论美军性别政策时提到:“我们需要一支全是男人的军队,他们想坐在中国人头骨做的宝座上。”福克斯新闻主持人卡尔森对凯利的发言表示赞同。
12月20日,美国福克斯新闻主持人杰西·沃特斯在美国转折点(TPUSA)会议发言时鼓动人们枪杀白宫首席医疗顾问福奇。沃特斯提议把枪杀福奇的视频发布到福克斯新闻,这段视频肯定可以“病毒式传播”。
作为被枪杀的对象,12月21日,福奇震惊地表示:“现在社会这样疯狂吗?”
《华盛顿邮报》12月20日报道,12月18日,华盛顿沃特金斯小学三年级一名学生被要求扮演阿道夫·希特勒,其他学生要假装死在毒气室里。最近几个月,其他美国学校也报告了类似事件。
2021年1月,袭击美国国会大厦的一些参与者也使用了纳粹符号。有男子穿着印有“奥斯威辛营”字样的衬衫冲进了国会大厦。

美国纳粹主义抬头,主要是因为美国统治集团倒行逆施,在联合国层面纵容纳粹。
12月20日,联合国通过了俄罗斯关于打击美化纳粹主义的决议,决议得到了130个国家的支持,49个国家弃权,只有两个国家投了反对票,那就是美国和乌克兰。
明知道该决议无法被阻止,美国和乌克兰还表态支持纳粹,释放的政治信号何其危险。

很多人并不知道,第一次世界大战后,德国背负巨额的战争赔偿,美国各大财团以贷款和投资的形式支持德国,总额达到几百亿美元。迅速奠定了德国腾飞的工业基础和军事基础。
希特勒的纳粹党的宣传经费也得到了美国资金的扶持。
德国纳粹可以视为英美资本扶持的恶魔。日本军国主义同样如此。1853年美国军舰打开日本的大门,从此日本一直处于美国的深度控制之下。日本作为英美在亚洲的盟友和走狗,与沙俄在中国东北激战并击败沙俄。1931年日本发动九一八事变侵略中国,英美日一直是事实上的盟友,蒋介石愚蠢至极才会希望英美制止日本侵略中国。
因此,第二次世界大战的爆发,本质上就是英美扶持豢养的猛兽脱笼而出荼毒世界。德国在反噬英美的同时,也确实如英美所愿侵略苏联,最终两败俱伤。日本在侵略中国的同时,最终出乎英美预料,夺取了英美在亚太的殖民地。
世界人民遭受的灾难,一直都在英美盎格鲁撒克逊人的黑手导演之下。英美盎格鲁撒克逊人统治世界的最常用的手段就是“挑拨矛盾,借力打力,离岸制衡,以多打少”。
我们看到,欧盟扩张吸收东欧各国加入的结果非常悲剧,在波兰、捷克、波罗的海三国等国家的掣肘下,欧盟已经几乎无法达成任何有利于欧洲利益的共识。如今的欧盟,各国离心离德缺乏核心,已经距离分崩离析不远了。

目前,美国率领的北约各国,在乌克兰与俄罗斯一直保持紧张对峙状态。
前几天文章汉唐曾经分析到,俄罗斯目前极度危险,因为乌克兰和立陶宛的边境距离莫斯科只有四五百公里,就像剥了壳的鸡蛋一样暴露在北约的威胁之下。这样的距离,在现代军事力量的突击下几乎没有机会躲开打击,美军的隐形战机在空中突击,短程战术导弹的射程也足以威胁俄罗斯。
面对这种威胁,俄罗斯唯一能做的就是保持核武器威慑。

11月30日,白俄罗斯总统卢卡申科接受俄罗斯媒体采访时表示,如果北约将核武器部署在波兰,那么白俄罗斯将向俄罗斯提议在白俄境内部署核武器。
12月18日,“今日俄罗斯”报道,白俄罗斯外交部长弗拉基米尔·马克伊警告称,由于担心北约(NATO)在邻国扩张的情况下,白俄罗斯可能决定在境内部署俄罗斯核武器。
同一天,也是在12月18日,白俄罗斯安全会议阿尔恰科夫少将接受俄罗斯《国防》杂志采访时警告称,如果欧洲发生重大冲突,这些俄罗斯的西北邻国“自身的军事力量不值一提……相互对抗的力量中心将把它们轻易地从地球上抹掉”。
自从11月4日,白俄罗斯与俄罗斯签署了落实联盟国家一体化的法令之后,白俄罗斯就成了对抗美欧的最前线。
白俄罗斯作为俄罗斯西进的突出部,战略位置极其重要,向北可以攻击波罗的海三国,向南可以和俄罗斯夹击乌克兰,向西可以攻击波兰。
欧洲对峙的局势一触即发,剑拔弩张,但是立陶宛这个鼻屎小国依然不知死期将至。

12月19日,俄罗斯卫星通讯社报道称,立陶宛国防部长阿努索斯卡斯声称,俄罗斯在与乌克兰边境部署军力,立陶宛准备通过一切手段支持乌克兰,包括提供致命武器。
蜀犬吠日,夜郎自大,正是立陶宛的最佳描述。
俄罗斯《共青团真理报》近日报道,德国—波罗的海商会日前致信立陶宛政府称,德国企业对立陶宛与中国的关系“极为关注”,如果立陶宛不能找出解决的办法,那么将会采取制裁措施,比如关闭德国在立陶宛的工厂。

12月23日,美国国务院官网公布声明称,美国国务卿布林肯与欧盟外交与安全政策高级代表博雷利通话,双方共同表达了对“中国向立陶宛施加的不断升级的政治压力和经济胁迫的关切”,美国以及欧盟将站在立陶宛这一边,共同增强所谓的“经济韧性”。
立陶宛既然同时挑战中俄两个世界顶级强国,那么显然做好了承受战火的准备。这个国家被周边大国统治了几百年,刚独立30年,如今又忘乎所以,民族的悲剧已经注定,丝毫不值得同情。
12月22日,德国海军司令接受采访时称,中国海军军力“爆炸性增长”相当于每4年增加一个法国海军的规模令人担忧。德国2020年派军舰前来南海是第一步,下一步希望能建立每2至3年来一次的定期机制。
作为一个曾经的军事强国,德国偶尔显摆一下自己的存在感也是正常现象。不过这种不友好的语言没有实际意义。正如德国海军司令所言: 中国每4年增加一个法国海军的规模。
这是中国走向世界最强国家的必然,以中国的国家体量人口规模,没有任何理由与法国、德国、英国这样的省级国家处于同一个水准线。这个世界的话语权掌握在中俄美这样的顶级大国手中,法德等国家只有联合起来才有存在意义。
12月22日,德国能源部门证实,俄罗斯已将“亚马尔-欧洲”管道至德国的输送量降至零,来自东面的输气完全陷入停滞。
俄罗斯断供德国天然气后,欧洲天然气价格应声上涨,并一度突破1800美元/千立方米,折合人民币每立方米12元,比中国民用天然气价格高了四倍!
德国新政府的对俄对华关系,显然还需要磨合。如今或许会被俄罗斯抽醒,也许还要被中国反抽回去,才能冷静下来面对现实。
西线欧洲局势剑拔弩张一触即发,东线亚太局势依然在持续升温,暗流涌动。
近日,新一期美国《外交事务》期刊提出拥有核武的国家或地区数量10年内是否会增加这一问题,有外交专家点名台湾有可能在10年内拥有核武,除了台湾地区,日本与韩国也上榜。
实际上,这个信号,就是美国反华势力有意释放信号,试图以台湾、日本、韩国拥核威胁中国。
其实,不管美国如何威胁,中国的最佳应对策略就是尽早解放台湾,实现国家统一。那时候,国际反华势力操弄的各种议题都将失去操作空间。
令人感到可笑的是,美国政客在全球制造紧张局势,肆意欺凌弱国,或许也可以欺负中国和俄罗斯。
但是,美军的堕落程度已经堪比晚清的八旗军,再消磨几年,美军基本不可能保持多少战斗力了。谁听说过一边吸毒一边打仗的军队可以战无不胜?更何况,美军不仅吸毒,还贩毒!

12月22日,日本媒体披露称,美军多名人员在日本境内贩毒。涉事人员包括美军驻冲绳海军陆战队所属的26岁伍长,和25岁上等兵。两人与不明人士合谋,从美国加利福亚洲将大麻邮寄至日本,企图运送至冲绳,但中途被海关查出。还有一名29岁的驻日美军人员与共犯同谋,从美国走私了1.1公斤可卡因到日本。
2021年8月19日,俄罗斯卫星通讯社报道,俄罗斯安全委员会秘书尼古拉·帕特鲁舍夫称,“很早以前,欧洲和美洲的毒品贩子就想要在阿富汗大量种植毒品牟取暴利,但是塔利班根除了罂粟田,并严禁生产毒品。直到2001年,美国入侵阿富汗,阿富汗的毒品产业开始急剧增加,这让阿富汗成为了鸦片出口大国,世界上90%的鸦片都出自阿富汗。美国没有打击毒品犯罪,反而是在那里建设了一个大型的、面向全球的毒品温室,鸦片类药物的产量增加了40多倍。”
如今,美军已经撤离。塔利班在中国的帮助下逐渐恢复经济,远离极端组织和恐怖主义,逐渐根除罂粟田,严厉打击毒品生产线,美国花费20年建立的大型全球毒品温室或将付诸东流。

站在客观公正的角度,我们可以看到英美盎格鲁撒克逊和犹太资本联盟,一直就是奴役世界,荼毒世界,而中国一直在世界各地播撒和平发展和繁荣稳定的种子。
世界局势的发展,不以人们善良的愿望而改变,只会根据世界正义与邪恶的力量对比而演变。
东西方阵营战略博弈的终极要素是全民作战意志的全面较量并决出胜负。
英美盎格鲁撒克逊和犹太资本联盟没有底线,中国和俄罗斯没有退路,狭路相逢勇者胜,置之死地而后生。
如果国际邪恶势力继续一意孤行,未来对抗的结果就是,英美盎格鲁撒克逊和犹太资本联盟彻底丢掉世界霸权,法德日本等列强借机摆脱盎格鲁撒克逊和犹太资本联盟的奴役,伊朗、土耳其等伊斯兰大国将趁机毁灭以色列。
如果人类不会彻底毁灭,那世界只能在废墟上以零起点实现重建。









