中俄一起向美元霸权开火,拜登终于感受到痛了!
就在世界各国都被通胀搞得焦头烂额之际,美联储又连续开始了连续激进加息,这就更让各国的乱局更加雪上加霜。
实际上,现在的全球通胀,就是美国人做的孽。在疫情期间,特朗普为了自己的总统宝座,不仅隐瞒疫情,还大肆发放美元,以安抚民众的情结,同时希望通过大规模的滥发美元,来刺激美国经济。
结果,由于社会上的美元越来越多,终于引发了这场全球性的通胀。而拜登上台后,不仅不想办法恢复生产和供应链,却挑起了俄乌冲突,让欧洲和俄罗斯成了仇人。
同时,本来就通胀十分严重的美国,却并不打算减免来自中国商品的关税。这一切让人感到,似乎美国政客们已经彻底疯狂,他们正在把美国拖入万丈深渊之中。为此,拜登还获得了中国网民一个昵称“拜振华”!

但是,现在看来,美国的每一步都没有离开自己的核心利益;每下一步棋,都在想办法减轻自己国内的通胀。只不过,他们的办法太血腥,太暴力,以牺牲他人的利益为代价。
就拿俄乌冲突来说。之前,由于能够获得廉价的俄罗斯能源,这让欧洲获得了一次发展的良机。当时,特朗普就十分不满,他抱怨说,美国大兵在保卫欧洲,欧洲却不买美国的天然气,而是买美国敌人的能源。
但是,现在再看看欧洲,他们宁肯烧木材取暖,都不进口俄罗斯的能源了。可以说,当年特朗普的愿望终于变成了现实,现在的欧洲已经彻底离不开美国的高价能源了。
这就为美国的能源工业创造了一次重大机遇。而自从美国变成一个能源出口大国后,它一直无法与俄罗斯和中东地区进行竞争。因为,美国开采的页岩油和页岩气,成本太高。如今,在俄乌冲突后,欧洲乖乖地用起了价格更高的页岩气。这是不是让美国不战而胜,成功在能源市场战胜了俄罗斯,同时也为美国创造了巨额的财富!
同时,高价的能源,又助长了美国国内的通胀。于是,美联储又以降低通胀为由,连续加息,已经把利息提到了3%以上,而且,很可能在年底前,达到4%以上。这对世界各国来说,都是一场重大的灾难!
但是,这却可能真的让美国再次渡过这场难关。
一是国际资本大量涌入美国,让美元指数暴涨。由于美国的利息不断上涨,之前在各国的国际资本,开始向美国流动,去获得既安全,回报又高的收益。
但是,这样一来,他们就不得不卖出所在国家的货币,同时买入美元。这就让美元指数暴涨。目前,美元已经从年初的96点左右,上涨到了113点。
由于美元是国际货币,这就让美国再次有了薅羊毛的机会。因为,美国的能源基本上能够自给,同时美国又是一个常年有巨大贸易赤字的国家。也就是说,美国大量的商品,都要从世界各国进口。
但是,在美元暴涨的情况下,美国人用于进口同样数量的货物,所付出的美元,就相对更少了。这就相当于降低了美国进口商品的价格,也就能缓解美国国内的通胀。这也许是美国不愿意减免中国关税的原因!
二是,美国人的另一个重大阴谋也开始曝光。有人认为,欧洲目前的能源危机,再加上由于美联储加息造成的金融危机,都是美国人提前设计好的。
美国的目的,就是从这些盟友身上,薅下更多羊毛,为美国补血。目前的欧洲,由于能源价格不断高涨,这已经让欧洲的一些企业举步维艰,许多都关门大吉。同时,这也让一些有能力的企业,不得不考虑下一步,还能不能继续留在欧洲。
目前看,类似机械制造、汽车工业和化学工业等行业的欧洲大型企业,已经开始逐渐将生产转移到美国。这对已经空心化的美国来说,简直就是一场及时雨。

同时,拜登也在逼迫日本、韩国和中国台岛,要把芯片产业迁入美国,以把中国彻底隔离在世界芯片产业链之外。
但是,面对美国这一套组合拳,中俄却连续回击了美国几个老拳,把美国打得晕头转向。
一是上海合作组织扩容。近日,在上合组织峰会上,已经申请多年的伊朗,终于如愿以偿,成为了正式会员。应当说,这就是给了美国一个大嘴巴。
因为,美国一直在制裁伊朗,这也是伊朗迟迟无法加入上合的原因。如今,美国借能源危机,想拉拢伊朗,让伊朗的石油进入国际市场,以打击俄罗斯的能源。因此,拜登放弃了特朗普时期,对伊朗严看死守的打法,正在与伊朗就伊核协议进行谈判。
然而,伊核协议并没有取得太大的进展,伊朗却火速加入了上合组织。这一定让拜登十分不爽。因为,伊朗的加入,不仅让美国人脸上无光,还进一步增强了中俄的实力,威胁到了美元的霸权地位。

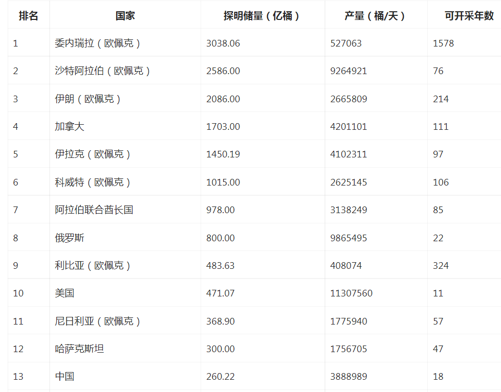
更严重的是,目前,合组织中就已经拥有了伊朗、俄罗斯、哈萨克斯坦和中国四个重要的产油大国,这对与石油挂钩的美元来说,可谓凶多吉少。同时,委内瑞拉与美国一直也不对付;沙特、阿联酋、伊拉克、利比亚都与美国貌合神离。也就是说,在前13名国家中,也只有加拿大是美国的盟友。
二是人民币强势崛起。在这种情况下,如果上合组织充分发挥自己的作用,团结这些产油大国,就能立即让美元霸权彻底破产!而人民币的国际地位,却正在稳步提高。
近日,中国人民银行发布《2022年人民币国际化报告》。报告显示,2021年,人民币跨境收付金额达到了36.61万亿元,同比增长29.0%,净流入4044.70亿元。
而这个成绩,是在美国不断抹黑中国,打压中国的情况下取得的。这就说明,在国际局势动荡之下,中国用自己的实力和战略定力,稳住了阵脚,成为了国际社会发展的重要力量。因此,包括中东产油大国在内的众多发展中国家,现在都愿意与中国加强联系,以加快发展本国经济。
同时,中国自2012年开始建设的CIPS,也正式走向世界舞台中央。目前,CIPS的参与者由中国境内外银行和金融基础设施机构组成,共有76家直接参与者、1265家间接参与者。
在直接参与者中,中资银行境内总行21家,境外分支机构(以人民币清算行为主)35家;外资银行境内子公司13家,其余7家为金融基础设施机构。在间接参与者中,包括亚洲965家(占比76%,其中境内547家,占比43%),欧洲185家(占比15%),非洲46家(占比4%),北美洲29家(占比2%),大洋洲23家(占比2%),南美洲17家(占比1%),已经覆盖了全球106个国家和地区。
眼看中国的势头越来越猛,拜登政府有点慌了。近期,在联合国大会上,拜登不断地抨击俄罗斯对乌克兰采取的军事行动,指责俄罗斯违背了《联合国宪章》。然而,奇怪的是,在谈及中国时,他却表示美国不寻求冷战和冲突,不要求其他国家选边站,还重申坚持“一个中国”政策。

而且,在王外长与布林肯随后的会谈中,布林肯又重申美方承诺:不寻求打“新冷战”,一个中国政策没有改变,不支持“台独”!
尽管美国人一向不守信用,但是总统和国务卿同时表态,这也能说明,美国可能真的感受到了痛。因为,美元霸权是美国的命根子,一旦失去这个命根,美国顷刻之间,也就土崩瓦解了!



